金石軟件更新勞務相關功能
發布時間:2021-05-17 點擊率:1537
一、前言:
金石軟件近期更新中,針對用戶實際需求新增下述功能:
1單據電子二次確認功能;
2聯營掛靠單位相關單據可于APP操作;
3支持多勞務隊信息上報、匯總。
二、功能介紹
1 單據電子確認
單據電子確認功能可用于:我方對分包工程量進度驗收后,已審核單據通過APP回發至分包單位,以此方便對賬。
適用功能:分包單位確認對賬、材料供貨商供貨實際到場驗收、租賃業務驗收與租賃單位對賬、勞務與班組確認對賬。
適用單據:外包人工單、材料采購單、運輸車輛單、外包機械單、租賃結算單、其它費用單、設備采購單、設備維修單、勞務考勤單、勞務加班單、勞務計件單、勞務預支單、勞務工資單。
相關圖片:
單據審核完成后,用戶將在微信端或app內部收到提醒信息。

點擊提醒信息中的查看原始數據,或在單據列表中找到相關單據,即可查閱對應信息。

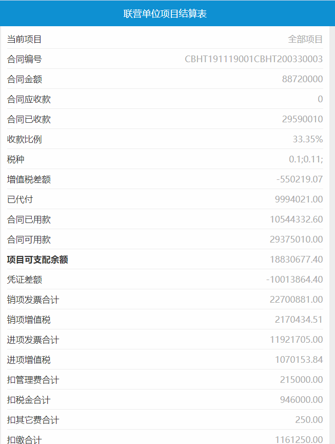
2 掛靠單位在線管理
行業現狀:資質借出單位常一人負責對接幾十個項目,結算時因發票、對賬等數據繁多,需占用大量時間進行關系核對、費用計算,很容易出現各種失誤,造成損失。
軟件提供掛靠單位相關票據在線操作功能,通過手機APP和電腦雙端操作,有效提高數據處理效率和信息管理。
適用功能:進項發票錄入、進項發票查詢、已繳稅單錄入、已繳稅單查詢、保證金繳納申請、保證金申請查詢、銷項開票申請、銷項開票查詢、項目結算表。



3 勞務分包相關數據
此功能適用于勞務分包單位處理數據。工地一線各勞務班組可通過【勞務隊】模塊,自行上報所屬班組的考勤、加班信息后,現場勞資員可與自行統計的考勤進行對照,以此減少失誤。
功能模塊:已生成單據歸攏、勞務考勤單、勞務加班單;



